电机过热保护与绕组温度测量方法
2023-03-10 米兰电竞-最专业的电子竞技门户
化工装置开车DCS调试全过程知识分享
2023-02-28 米兰电竞-最专业的电子竞技门户
热电偶补偿原理知识分享
2023-02-06 米兰电竞-最专业的电子竞技门户
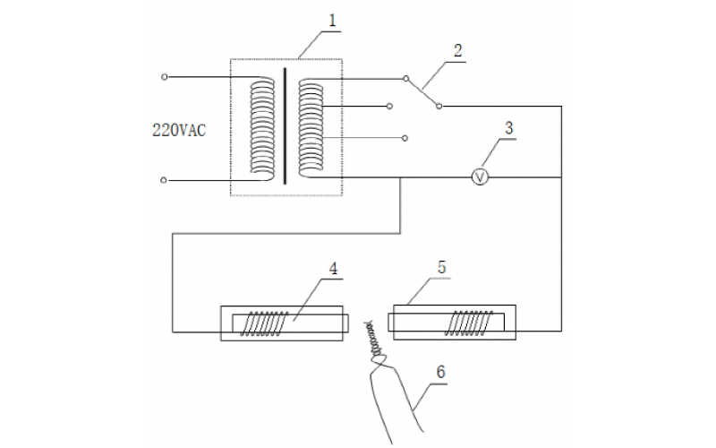
一种贵金属热电偶焊接装置
热电偶、电阻保护套泄露处理办法
2022-12-09 米兰电竞-最专业的电子竞技门户
电厂循环流化床锅炉炉膛温度计的使用浅析
2022-12-06 米兰电竞-最专业的电子竞技门户
热电偶工作原理及故障处理思路
2022-11-23 米兰电竞-最专业的电子竞技门户
自控仪表接地知识分享
2022-10-24 米兰电竞-最专业的电子竞技门户